视频播放
加载播放器
  • 提供配置文件
  • 提供最新技术
    • 风向系统
      滚环路导航系统GS
      非联系人Flange
      检测系统FA
      自动Windth控制AVS
    • 线性驱动系统
      滚环驱动器 线性驱动器Nut
      定时带驱动器
    • 点名系统
      U-Clip、Uhing-eacilock
    • 工程学
产品组合
  • 点名系统

  • U-Clip和Emplelock

  • 平滑轴/管U-Clips
    U-Clip和Uhingacellock提供处理问题求解U-Clip使用反插环转接轴并提供阻塞力U-Clip前向固定组件并自动锁入位置向用户拉紧绑定圈

    上头Uhing-acellock-System特征为易处理性及其平滑井上绑定/拉链函数效果是快速滚动并同时高敏感应用保值软宽库和滚动并模块化系统有各种核心直径并适合各种应用其主要构件为固定插件和阻塞段,由张力单元和互换插件点组成函数关联到锁链圈,它位于拉链单元内并带入与井压接触张力越大,圈子阻塞效果越大。 悬浮或滚动保留并固定, 向上推拉拉力并转拉力轮直到实现所需的压住力释放时通过拉伸轮来减压并拉离井口并适合驱动井
    • 义大利

      • 硬化软面使用
      • 自锁
      • 单手操作
      • 对称设计
      • 高自锁力比倾斜级球系
      • 腐蚀保护
      • 抗振动
    • 应用区 :

      • 旋转非旋转轴定位,例如端补(不适合托盘传输)
      • 管接井连接,例如三脚架
      • 修复轴组件,例如哑铃权重
      • 快速调整材料引导,例如
        包装机
    • 作业区

      • 打包
      • 静态应用
      • 通风
      • 驱动轴
      • 悬浮池
      • 关系紧张滚动
  • UhingQ磁芯片-塑胶磁芯

  • 磁性剪切程序特别适合需要少量握力和易清洗程序握力可因维值变化而变化(轮廓轴日志长度)。

    旋转对称设计
    UhingQmagnetclip使用无色或温室适容h11Clip还允许较大轴容度并完全旋转对称Uhing Magnetclip绑定多事-从标签回路滚接流到食品产业产品闭合磁芯片设计容易清理,对食品应用大有裨益
  • 线性驱动系统

  • UHING-线性驱动Nut

  • Uhing线性驱动器非阳性驱动器将平原旋转转换成线性运动与滚环驱动器形成对比的是,滚环不安排旋转,而装配成固定投手,速度因轴速变化而变化方向改变通过逆转轴向实现

    无反冲低噪声、高效率滚动驱动承载机制允许单元人工定位轴上、紧凑设计、小空间需求
    右手投入同道 良好的密封可能性用于灰度、脏度或潮湿环境线性运动需要时,Uhing线性驱动核电站现代替代液压和充气机、链式驱动器和铅槽
    • 应用区

      • 坐标测量机
      • 检验技术
      • 材料处理
      • 凸出系统
      • 引擎控件
    • 义大利

      • 旋转运动转换成线性运动
      • 反冲自由
      • 低噪声
      • 低维护
      • 紧凑
      • 好密封可能性
      • 驱动器可切换轴
      • 低运营成本
      • 广度大小
      • 抗振动
      • 高腐蚀保护
    • 开线性驱动神经元特殊设计

    • 自由运动杆

    • 连通坚果

    • 左右投手

  • UHING-滚环驱动RGRGRK

  • 驱动器变换平井常轮转双向反向运动并同时用于泛线性运动区重负载和高强度载荷加载保持高度重复精度(外部脉冲重新启动)宜双轴旋转充气或电磁反转除标准范围外,我们可以为您提供定制解决方案 解决您的具体问题和需求

    应用区
    • 面处理/转换
    • 测量测试
    • 材料处理/打包
    • 提尔制造
    • feeds/定位驱动
    • 权放大器(servo函数)
    • 同步切割机驱动器
    • 顺序驱动器/特殊机
    • 远程控制

    • 所有函数(逆宽中风、速度和自由运动)可远程控制
      精确重复运动序列,包括双向旅行的不同特征,可能通过摄像头跟踪控制
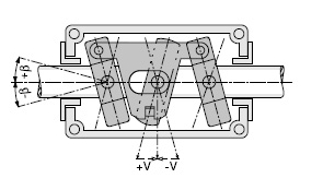
    • 滚环原理

    • 滚环驱动器是摩擦驱动器,它把平原圆轴的常态旋转转换为回转运动
      边线条像坚果操作, 左手边和右手边投手都可精细调整或置为零

      实现此效果的方法是使用球承接滚环,这些滚环设计为分入轴上,其特殊封顶运行面在轴旋转时按对面

    • 义大利

      • 自动反向运动并恒定轴旋转
      • 侧推3600
      • 宽度中点到5m
      • 加速4.2m/sec
      • 宜横向垂直应用
      • 可变线性输出速度从恒定轴输入速度
      • 快速或快速下降反转
      • 高逆向定位动态
      • 可切换轴
      • 好密封可能性
      • 高效率
      • 低运营成本
      • 高腐蚀保护
    • 混合器

    • 制作tarts

    • 用压水打扫传送带

    • 风车类

    • 双轮风

    • 双轮风

  • 线性驱动器:UhingZ-Z-Drives-UhingQ-Timing带驱动

  • UHINGZ-Drive基础曲折反压硬性铝剖面
    运量段内数组T提供可变扩展可能性并简化集成滑动连接块很容易插入驱动带向载荷载波传输电源系通过装配载波承载器Uhing-Z-Drives特征是使用高等级材料,包括防腐蚀硬引导轨迹和坚固定时带保留形状精确定位精确 高速加速率和速度 并构建长寿
    • 应用区

      • 驱动技术
    • 义大利

      • 易适配
      • 精确引导
      • 高线性速度加速率
      • 广度类型和配件
  • 风向系统

  • Uhing++-Guide系统GS

  • Uhing++-制导系统GS向向滚动路传递遍历单元的遍历和材料以备伤口附加模块允许系统普遍匹配结链任务

    长处 :
    • 模块构造易适应结链任务
    • 可持续调整
    • 振荡式僵硬
    • Uhing滚环驱动器适配器RG15、RG20、RG22和RG30
    • 完全由不锈钢制成
    • 多功能附加选项向流机
    • 适合所有遍历系统
  • UhingZQ-非联系Flange检测系统FA二

  • 应用
    法兰检测系统检测法兰斯悬浮板的位置,而不管使用法兰斯悬浮板假脱机修改后系统自动适应新脱机位置,并视必要调整新脱机形状法兰检测系统是专门设计用可逆滚动环驱动器应用的,但测试后也可安装在其他遍历系统上

    您的优缺点
    • 不人工调整逆点
    · 使用不同类型和维度流时节省大量时间,因为不需要调整
    易操作
    · 无需经验
    完美刮线模式
    用户不需机器数据
    强感应技术
    模块系统

    函数原理
    传感器检测法兰安装在遍历系统上定点时,当前距离记录并保存为单层参考距离

    遍历系统移动时参考距离与测值持续比较逆差一经允许可调整高度偏差高偏差发生时检测法兰或聚积悬浮显示表示测高或允许高度偏差

    应用区
    系统设计用于圆形流水池直径为0.1至2.0毫米的圆形材料其它维度经咨询后是可能的大小不等的漏洞不调整求偶芯直径(dcore)和franges直径(dflange)必须留意差值不得超过220毫米(dflange-dcore < 220mm)。

    使用数片库时,最小核心直径和最大法兰直径应用。其他假库大小可以变换

    长方形或二次角达40度丰盛法兰斯补偿无法用崩溃法兰扫描池

    遍历系统必须并行展开脱机轴极慢通风速度,轴轴反流承滑槽小于最小通风直径不应小于最小通风量